□ 概述 UQK-71系列干簧式浮球液位控制器,廣泛用于民用建筑用水 池、水塔、水箱,
以及石油化工、造紙、食品、污水處理等行業內 開口或密閉儲罐,地下池槽中各種
液位的液位測量,被檢測的介質 可分水、油、酸、堿、工業污水等各種導電及非導
電液體,本控制 器可對液位進行自動控制。
□ 型號說明

|
結構形式
(型號) |
結 果 |
功 能 |
|
a |
一只常開干簧(上位)
一只常閉干簧(下位) |
高水位開泵
低水位停泵 |
|
b |
一只常開干簧(上位)
一只常閉干簧(下位) |
高水位開泵
低水位停泵 |
|
c |
一只常開干簧管(上位)
一只常閉干簧管(下位) |
自動控制 |
|
d |
三只常開干簧
一只常閉干簧 |
用于上、下位液位控制和高低極限液位報警 |
|
e |
一只常開干簧
三只常閉干簧 |
用于上、下位液位控制和高低極限液位報警 |
|
f |
四只常開干簧管 |
自動控制 |
□ 主要技術指標
1、測量范圍
G型(不銹鋼)≤4m,(4m以上協商解決)
F型(氟塑料)≤4m
2、被測介質溫度
國產干簧管-10℃~+80℃,進口干簧管-10℃~+100℃
3、被測介質比重:>0.7g/cm3
4、工作壓力:≤1.6MPa
5、干簧管觸點容量:220VAC,1A
□ 工作原理
在控制器中裝若干只GAG-5型大功率干簧管,當裝有磁鋼的浮球隨液位上、下
時干簧管的觸點隨著發生動作,從而達到控制液位的目的。可驅動泵對液位進行全自
動控制
□ 安裝和接線
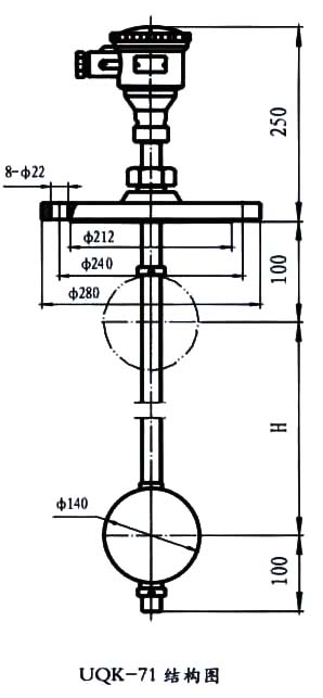
1、 法蘭安裝G-法蘭標準HG20592-97DN150、PN1.6(其它法蘭標準協商解決)螺紋
安裝螺紋尺寸M30×2
2、 傳感器與顯示儀之間的聯接線不能與交流電源同路敷設,因為感應交流電有可能會
影響儀表,同時為了避免干擾信號,盡可能使用屏蔽電纜在鐵管內敷設。
3、 傳感器裝在被測容器上,其安裝方法見圖二,傳感器下端最好與容器底部固定牢。
4、 由于受鐵路運輸的限制,大于4m以上采取分段裝箱,安裝時由用戶自行焊接,焊接
后段將焊縫銼平正,并做好水壓試驗(壓力小于0.6MPa)確定不漏方可使用,F型的
傳感器還須將隨箱來的氟塑料套管套上并固定;或用戶自行解決運輸問題。
□ 訂貨須知
1、 寫明傳感器的規格、型號、數量
2、 寫明傳感器的材質、測量點L1、L2……L3的具體位置及傳感器總長,應提供L1、L2……
L3觸點形式(常開或常閉),如不確定則以常開觸點生產。
3、 傳感器在安裝前須進行檢查,用萬用表棒接在傳感器接線端子,當浮球上下移動時,相
應地使干簧管動作。